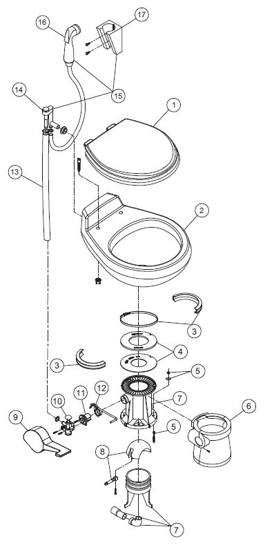
548.jpg
Vacuum Breaker reference:
vb-comparison.jpg